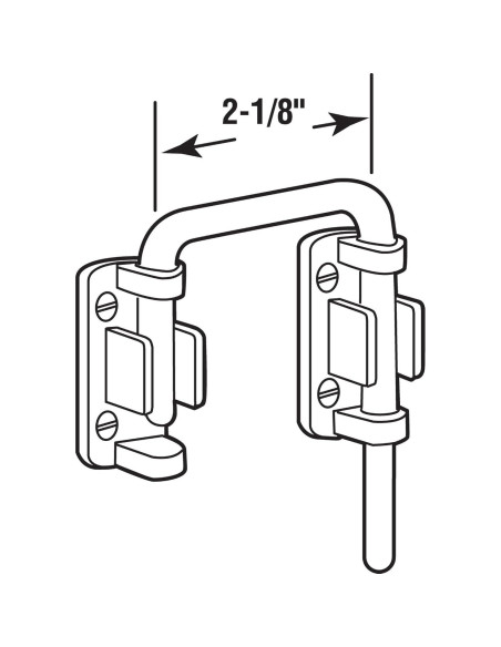
Descripción del producto Asegura las puertas de tu hogar u oficina con seguridad adicional con la cerradura de bucle para puerta corrediza de patio Defender Security U 9846. Este dispositivo de bloqueo de seguridad secundario proporciona una seguridad adicional y aumentada para las puertas corredizas de patio. También se puede colocar fuera del alcance de los niños, alto en una puerta, para que no puedan abrir la puerta por sí mismos y entrar o salir a áreas peligrosas. Esta cerradura de bucle para puerta está construida con una varilla de bloqueo de acero endurecido niquelado con un soporte y un retenedor de fundición también con acabado niquelado. Es fuerte y duradera, seguro que durará, y la instalación es rápida y fácil. Todos los sujetadores de instalación están incluidos, y está diseñada para asegurar la puerta al marco. Ten cuidado al montar en puertas de panel de vidrio para no dañar tu panel de vidrio. Del fabricante Esta cerradura de bucle para puerta corrediza de patio está construida con una barra de bloqueo endurecida y una placa de montaje de fundición y retenedor. La barra de bloqueo y las placas de esta cerradura vienen acabadas en un revestimiento cromado y todos los sujetadores requeridos están incluidos. Este dispositivo de bloqueo presenta un alcance de 2-1/8 in. (5,08 cm) que está diseñado para asegurar la puerta al marco para aumentar la seguridad del hogar. Esta cerradura de bucle para puerta corrediza es fácil de instalar y es utilizada por muchos. Este artículo también está disponible en 1-1/8 in. (2,86 cm), 1-3/16 in. (3,02 cm), 1-7/16 in. (3,65 cm) y 2-1/4 in. (5,08 cm) de alcance.
Características destacadas
- DISPOSITIVO DE BLOQUEO DE SEGURIDAD SECUNDARIO - Esta cerradura de bucle para puerta corrediza de patio Defender Security U 9846 se puede usar en una puerta corrediza de patio como un bloqueo de seguridad secundario para aumentar la seguridad del hogar.
- DISPOSITIVO DE SEGURIDAD A PRUEBA DE NIÑOS - Esta cerradura de bucle para puerta también se puede instalar fuera del alcance de los niños para que no puedan abrir la puerta por sí mismos, proporcionando seguridad adicional a prueba de niños.
- INSTALACIÓN FÁCIL - La instalación es rápida y fácil - ¡la seguridad adicional para las puertas de tu hogar u oficina está al alcance! Los sujetadores de instalación están incluidos.
- CONSTRUCCIÓN DURADERA - Esta cerradura de bucle para puerta tiene una barra de bloqueo de acero endurecido con una placa de montaje y retenedor de fundición, con un acabado niquelado.
- INFORMACIÓN DEL PRODUCTO - Este dispositivo de bloqueo presenta un alcance de 2-1/8 in. (5,08 cm), que está diseñado para asegurar la puerta al marco.
- Usado en sistemas de puertas corredizas de patio como un dispositivo de bloqueo de seguridad secundario
- Alcance de 2-1/8 in. (5,08 cm)
- Acabado cromado
- Barra de bloqueo de acero endurecido con placa de montaje y retenedor de fundición
Modelo de esta publicación
- Estilo: Puerta corrediza
Especificaciones técnicas
- Estilo: Puerta corrediza
- Tamaño: 2-1/8 in. (5,08 cm)
- Marca: PRIME-LINE
- Color: Cromado
- Acabado: Níquel satinado
- Material: Acero aleado
- Tipo de cerradura: Cerradura de bucle
- Nombre del modelo: Cerradura de bucle para puerta corrediza
- Tipo de acabado: Níquel satinado
- Número de parte: U 9847
- Fabricante: Prime-Line Products (Mejoras para el hogar)
- Método de control: Tacto
- Tipo de controlador: Control manual
- Característica especial: Resistente a la intemperie
- Número de piezas: 1
- Características especiales: Resistente a la intemperie
- País de origen: China
- Número de modelo del artículo: U 9847
- Baterías incluidas: No
- Baterías requeridas: No
- Componentes incluidos: cerradura, retenedor y sujetadores
- Descripción de la garantía: Los productos están garantizados contra defectos de fabricación por 1 año. En ningún caso Prime-Line es responsable por daños relacionados con el usuario o daños incurridos durante la instalación. La garantía se anula si los productos son sometidos a condiciones anormales, mala aplicación o abuso.
- Cantidad del paquete del artículo: 1
- Usos recomendados para el producto: Puerta
- Está descontinuado por el fabricante: No
- Peso: 0.2 kg
- Dimensiones: Ancho: 1.60 cm, Alto: 7.95 cm, Profundidad: 11.59 cm
