Este tirador de puerta y visor decorativo está construido de materiales de fundición y viene en un acabado de níquel satinado. Su diseño vintage tiene una altura total de 13.97 cm y presenta un ángulo de visión de 180 grados. Este tirador de puerta y visor se puede instalar en puertas de 3.49 cm a 4.45 cm de grosor, con un agujero de instalación requerido de 14.29 mm de diámetro interior para la instalación del visor. El visor de puerta integrado dentro de este tirador de puerta está diseñado para ayudar a mantenerte seguro al responder tu puerta y es ideal para ver de día o de noche con iluminación exterior adecuada. Este tirador de puerta y visor es fácil de instalar y es utilizado por muchos. Consulta la parte S 4793 de Prime-Line para una cubierta interior del visor de puerta. Las cubiertas del visor interior (no incluidas con este artículo) evitan la visibilidad invertida a través de los visores de puerta desde el exterior de la casa, aumentando la seguridad y privacidad de tu hogar.
Características destacadas
- Utilizado en puertas de entrada para proporcionar privacidad al ver desde el interior de la casa, y también como un tirador de puerta decorativo para visitantes
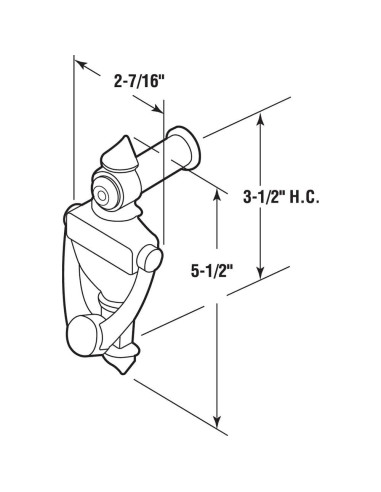
- Requiere un agujero de instalación de 14.29 mm de diámetro, diseñado para instalar en puertas de 3.49 cm a 4.45 cm de grosor, con una altura total de 13.97 cm
- Acabado de níquel satinado
- Construcción de fundición
- Incluye fijaciones de instalación
- Por favor, consulta el dibujo técnico para dimensiones y compáralo con tus necesidades antes de ordenar
Especificaciones técnicas
- Tamaño: 14.29 mm.
- Color: Níquel satinado
- Forma: forma
- Acabado: Plata
- Material: Materiales mixtos
- Número de parte: MP10327
- Fabricante: Prime-Line
- País de origen: China
- Número de modelo del artículo: MP10327
- Baterías incluidas: No
- Baterías requeridas: No
- Componentes incluidos: Tirador de puerta y visor
- Descripción de la garantía: Los productos están garantizados contra defectos de fabricación por 1 año. En ningún caso Prime-Line es responsable por daños relacionados con el usuario o daños ocurridos durante la instalación. La garantía se anula si los productos son sometidos a condiciones anormales, mala aplicación o abuso.
- Cantidad del paquete del artículo: 1
- Peso: 0.2 kg
- Dimensiones: Ancho: 10.16 cm, Alto: 10.16 cm, Profundidad: 3.18 cm
